Imagine a material that can capture water vapour from desert air during the night and then release water when the sun rises – this sounds like science fiction but has become a reality by the research made by Susumu Kitagawa, Richard Robson and Omar M. Yaghi, awarded the Nobel prize in Chemistry 2025.
This year’s laureates have created a new type of molecular entities, metal-organic frameworks, MOFs, with enormous potential. Besides water harvesting, future application areas include e.g. gas storage, water purification, carbon dioxide capture, and battery technology. The number of patent publications relating to MOFs has risen from close to zero in 2005 to near 4,000 in 2024.
Metal-organic frameworks, MOFs, are materials in which metal ions (or clusters) are connected by organic linkers to create a 3D network containing a vast number of well-defined cavities. The cavities can act as reservoirs for guest molecules that can enter and exit from the surrounding environment. The seemingly endless combinations of the building blocks (metal and linker) allow precise tailoring of MOF properties, such as cavity size and chemical functionality, to suit specific applications.

MOFs are highly porous materials with exceptionally large internal surface areas. One gram of a MOF could have an internal surface area as big as a football field! This makes MOFs better adsorbents than previously known porous materials, such as zeolites or activated carbon.
The MOF technology has paved the way for a flood of innovations in various industrial sectors, such as e.g., chemical industry, healthcare & pharmaceuticals, energy, and environmental remediation.
The vast innovative activity is mirrored by the steep increase in patent filings in the MOF field. China shows the highest patent filing activity, followed by the US and South Korea. A large part of the patent application filings stem from universities, but also major companies like BASF and ExxonMobile can be found among the top filers.

Considering the steep rise of patent applications relating to MOFs, it is evident that this field attracts a lot of interest, both in academia and industry. The Nobel laureates themselves also have their research work protected by several patents.
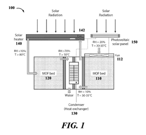
Omar M. Yaghi (together with fellow inventors) has a patent relating to a moisture harvester containing a MOF as water capturing material. This allows liquid water to be collected, also from dry air, e.g. in desert environments. The collected water is suitable for human consumption and can also be used for irrigation of crops. It is easy to envision the impact this invention may have for populations in areas where water supply is scarce.

Susumu Kitagawa (and fellow inventors) holds a patent relating to a method for separating and storing highly unstable per- and polyfluoroalkyl substances (PFAS), such as tetrafluorethylene, through adsorption to a MOF. PFAS are widely used industrially, and the possibility to separate, store and transport these toxic and hazardous molecules in a safe way is of great value for humans and the environment.

The MOF science is still new, and the broad use and application of MOFs in an industrial scale are yet to be explored. In times of climate change and sustainability challenges, they at least bring a fair amount of hope and expectations to the table.
The scientific community is excited that the basic research behind MOFs is being awarded the Nobel prize, and Susumu Kitagawa, Richard Robson and Omar M. Yaghi have surely inspired to continued ground-breaking research and innovation. Who would not want to join the solemn Nobel prize ceremony and dinner in beautiful Stockholm?
Get expert insights and the top patent stories delivered straight to your inbox.